Amerykański Urząd Patentowy przyznał dziś Apple patent opisujący dotykowy czujnik Touch ID, który mogłyby skutecznie wykrywać i czytać odciski danego użytkownika za pośrednictwem innych składników smartfona takich jak wyświetlacz czy ekran dotykowych. Technologia ta kontynuuje aktualne plotki dotyczące iPhone’a 8, który ma ostatecznie wyeliminować przycisk Home i integrować różne funkcje smartfona bezpośrednio na wyświetlaczu, w tym właśnie Touch ID.
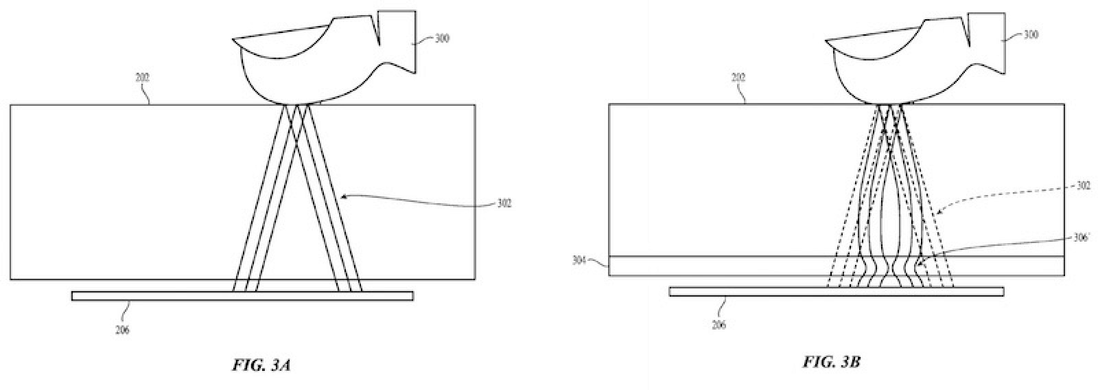
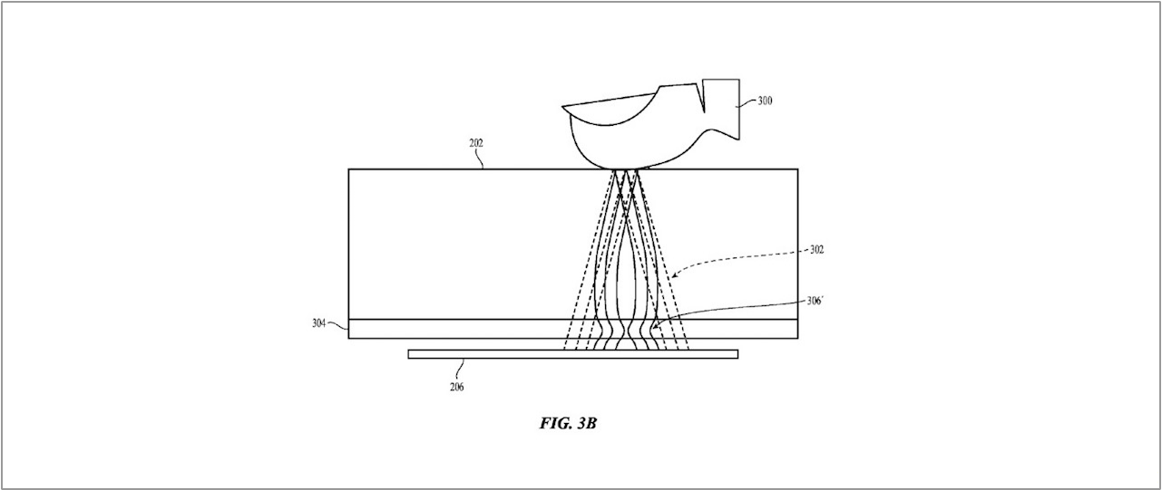
Opis nowego patentu wskazuje na wiele powodów dla których Apple szuka integracji Touch ID w ekran iPhone’a, z których jednym z ważniejszych jest uniknięcie zajmowania cennej przestrzeni na przodzie urządzenia dla składnika, który jest krótko używany tylko podczas procesu identyfikacji użytkownika. Firma nadal musi stawić czoła wielu problemom przy budowie nowej technologii, między innymi „rozmyciu pola elektrycznego”, które doprowadza do utraty rozdzielczości obrazów linii papilarnych, kiedy są one przenoszone przez przestrzeń pomiędzy Touch ID a ekranem iPhone’a.
Do wypełnienia szczeliny pomiędzy przestrzenią na której użytkownik umieszcza palec, a technologią odczytu danych palca, patent Apple proponuje zastosowanie soczewek elektrostatycznych, które są opisane jako zawierające „jedną lub więcej warstw przewodzących”. Zgromadzone dane pomogłyby poprawić rozdzielczość odcisku palca użytkownika, mimo odległości pomiędzy modułem pomiarowym Touch ID a miejscem na ekranie iPhone’a, gdzie umieszcza się palec. W patencie, Apple stwierdza, że specyficzne położenie i lokalizacja tych soczewek elektrostatycznych zależeć będzie od „geometrii urządzenia oraz skutków ewentualnych części interweniujących”, ale ekrany dotykowe oraz wyświetlacz są wymienione z nazwy wielokrotnie.
Jak to zwykle bywa z patentami, nie jest jasne, czy elektrostatyczne technologie soczewek pojawią się w przyszłych urządzenia Apple, a tym bardziej w czasie krótszym niż rok, ale jego opisowy charakter napędza jedną z największych plotek związanych z iPhone’em 8. Wydaje się, że Apple pracuje nad patentem już od kilku lat, a pierwotnie został on złożony w dniu 9 września 2014 roku.

Mi5s będzie to mieć jako pierwsze