Z najnowszych doniesień wynika, że linii iPhone 16 nie będzie powrotu technologii uwierzytelniania za pomocą odcisków palców Touch ID.
Przeglądasz: Touch ID
Obecnie Apple zezwala na używanie Touch ID i Face ID zamiast hasła w celu uzyskania dostępu do poufnych aplikacji, takich jak aplikacje bankowe lub do zarządzania…
Firma Apple umówiła swojego przedstawiciela na spotkanie z tajwańskim producentem ekranów dotykowych GIS w przyszłym tygodniu w celu omówienia rozwoju iPhone’a ze skanerem linii papilarnych pod…
Wiceprezes Apple ds. Marketingu produktów, Greg Joswiak, rozmawiał niedawno z brytyjskim Daily Express o przyszłości systemów uwierzytelniania biometrycznego. Zwrócił on uwagę, że choć Face ID zostanie…
W iOS 11 firma Apple dodała funkcję „Emergency SOS”, która ma na celu umożliwienie użytkownikom szybkiego i łatwego wezwania służb ratowniczych w razie potrzeby. Jak się…
Według Andy Hargreavesa, analityka z Pacific Crest Securities, firma Apple może zostać zmuszona do wyeliminowania czytnika Touch ID z wcześniej nazwanego „iPhone’a 8”, jeśli w ciągu najbliższego…
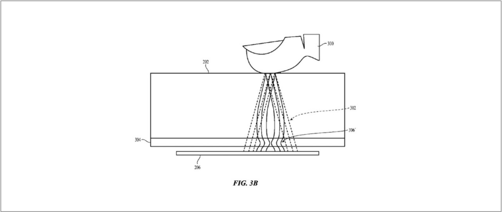
Amerykański Urząd Patentowy przyznał dziś Apple patent opisujący dotykowy czujnik Touch ID, który mogłyby skutecznie wykrywać i czytać odciski danego użytkownika za pośrednictwem innych składników smartfona takich…
IPhone 7 może ostatecznie nie posiadać fizycznego przycisku Home, a zamiast tego może otrzymać dotykowy „3D Touch” przycisk Home donosi Mac Otakara. Taki przycisk Home byłby wyrównany…
Wypuszczony przez Apple iOS 9.1 u niektórych użytkowników iPhone’ów i iPadów wprowadza problemy z Touch ID, informuje Forbes. Strona podjęła ten temat po licznych wątkach na ten temat na forum wsparcia technicznego…
Touch ID może być montowany w następnej generacji MacBook’ów Air, MacBook’ów Pro, Magic Mouse oraz Magic Trackpad. Tak przynajmniej wynika z ogólnych plotek opublikowanych przez tajwańską stronę Apple.club.tw. Raport, powołując się na…
