Zgodnie z nowo opublikowanym wnioskiem patentowym Apple prowadzi badania nad klawiaturą MacBooka z wymiennym klawiszem, który może być używany jako myszka.
Zgłoszenie patentowe, po raz pierwszy zauważone przez Patently Apple, nosi tytuł „Deployable Key Mouse” i zostało złożone w Urzędzie Patentów i Znaków Towarowych USA. Zgłoszenie opisuje standardowo wyglądającą klawiaturę z mechanizmem nożycowym MacBooka z ukrytym wyjmowanym klawiszem. Ten klawisz zawierałby czujnik położenia, który miałby być używany jako urządzenie wskazujące. Apple opisuje system jako „wygodny, przenośny i precyzyjny wskaźnik wejściowy dla komputerowego systemu wejściowego”.
W zgłoszeniu wyjaśniono, że niektóre precyzyjne zadania, takie jak projektowanie graficzne, projektowanie i modelowanie wspomagane komputerowo oraz edytowanie dużych i złożonych dokumentów, łatwiej wykonuje się przy użyciu tradycyjnej myszki ręcznej niż gładzika. Apple przyznał, że noszenie przy komputerze osobnej myszy może być uciążliwe i może być „zbędne, gdy komputer ma już wbudowane urządzenia wskazujące”.
Według Apple, wymienny klawisz jest realnym rozwiązaniem tego problemu. W niektórych przykładach zastosowania klawisz mógłby działać normalnie w klawiaturze, gdy nie wymagałaby wykorzystania i miałby małą baterię.
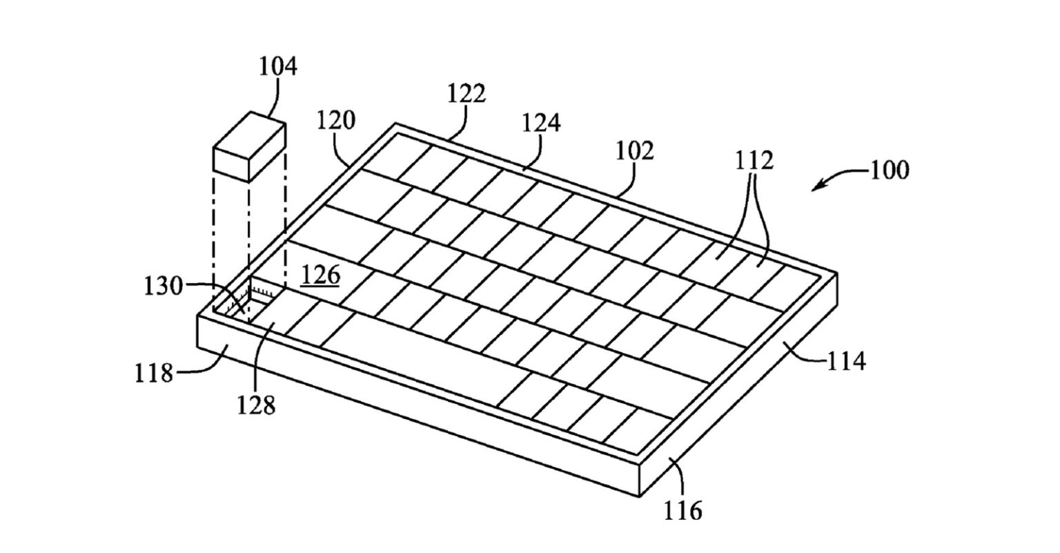
Firma Apple przedstawiła różne systemy mechaniczne ułatwiające wyjmowanie klawisza, w tym pionowe wysuwanie jednego lub wielu klawiszy z obudowy, a także poziome wysuwanie klawiszy z boku maszyny. Ilustracje patentu przedstawiały rozkładany klawisz umieszczony w pobliżu krawędzi klawiatury, aby nie był to klawisz, który jest często używany.
Zgłoszenia patentowe nie mogą być traktowane jako dowód na najbliższe plany Apple, ale wskazują obszary zainteresowania firmy i to co firma zamierza rozwijać. Chociaż perspektywa wymiennego klawisza może wydawać się dziwaczną potencjalną funkcją MacBooka, może być mniej rzucająca się w oczy niż inne nietypowe funkcje, takie jak pasek dotykowy i może spodobać się niektórym profesjonalnym użytkownikom, którzy wymagają wygody transportu nadal korzystając z precyzyjnego wprowadzania danych.
