Apple pracuje nad nową konstrukcją klawiatury, która może ostatecznie zastąpić klawiaturę motylkową w MacBookach i ostatecznie rozwiązać problem „lepkich” lub niekonsekwentnie działających klawiszy.
Apple uznał istnienie problemu w niektórych obecnych klawiaturach MacBooka, który jak się powszechnie uważa powodowany jest przez kurz lub inne cząsteczki dostające się w mechanizm motylkowy pod klawiszami, które są płytsze niż te z poprzedniej generacji MacBooków i MacBooków Pro z tradycyjnymi mechanizmami nożycowymi.
W swoich zeszłorocznych modelach komputerów MacBook Pro firma Apple wprowadziła cienką silikonową membranę pod klawisze klawiatury, co jest próbą rozwiązania problemów z osadzaniem się kurzu i okruchów. Ale nowy patent sugeruje, że firma bada całkowicie nowe podejście do sposobu projektowania klawiatur, które może usunąć problem na dobre.
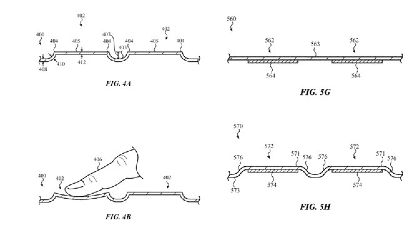
Opublikowane w zeszłym tygodniu przez Urząd Patentów i Znaków Towarowych Stanów Zjednoczonych i po raz pierwszy zauważone przez AppleInsider, zgłoszenie patentowe o nazwie „Komputer z klawiaturą” opisuje klawiaturę, która zastępuje ruchome klawisze szklaną taflą, która zawiera uniesione sekcje wskazujące dotykową lokalizację poszczególnych klawiszy.
Po naciśnięciu podniesionej sekcji klawiszy, klawiatura wykrywa ciśnienie wejściowe dla tego klawisza i przetwarza jako typowe naciśnięcie klawisza. Koncepcja różni się od płaskiej płaszczyzny wirtualnej klawiatury ekranowej, ponieważ uniesione sekcje pozwalają użytkownikowi wyczuć, gdzie powinny spoczywać palce w odniesieniu do poszczególnych klawiszy.
Patent opisuje, w jaki sposób dodatkowy poziom dotykowego sprzężenia zwrotnego może być zapewniony przez podniesioną ściankę boczną wokół pojedynczych podniesionych klawiszy, które mogą odkształcać się przy każdym naciśnięciu, podczas gdy leżąca pod spodem warstwa mogłaby służyć do „wypychania” klawisza z powrotem na miejsce.
Oczekuje się, że szklana klawiatura może być cieńsza, co zapewni miejsce dla innych komponentów, które będą mogły być umieszczone w obudowie notebooka.
Firma Apple w przeszłości zgłaszała patenty na klawiaturę, w tym między innymi taką, która korzysta z panelu dotykowego podobnego do Touch Bara, ale rozciąga się na cały układ klawiatury. Dzisiejszy patent jest pierwszym podkreślającym zastosowanie indywidualnie unoszonych elementów szklanych, które naśladują tradycyjny dotyk przez sprzężenie zwrotne.
