Donald Trump umieścił na swoim profilu na Twitterze wiadomość dla Tima Coooka, dyrektora generalnego Apple. Wiadomość była dość prosta i konkretna.
Przeglądasz: przycisk Home
Jak odkrył Myke Hurley, niektórzy użytkownicy iPhone’a 7 oraz 7 Plus będą mieli trudny czas odblokowywania swojego urządzenia w okresie zimowym. Jak się okazuje, nowy przycisk…
Apple stara się opracować własne rozwiązanie integrujące sterowniki ekranu dotykowego i wyświetlacza dla urządzeń mobilnych na jednym chipie, wynika z nowego raportu opublikowanego przez tajwański serwis DigiTimes. Integracja dotyku…
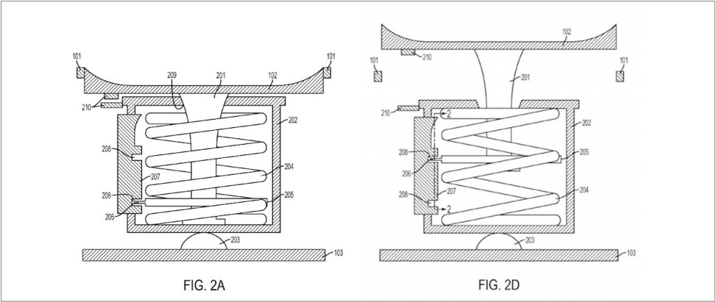
Amerykańskie Biuro Patentów i Znaków Towarowych opublikowało wniosek patentowy firmy Apple, ujawniając zainteresowanie firmy zmianą tradycyjnego przycisku Home iPhone’a i iPada w mały joystick do gier.
Po wieloletnim użytkowaniu iPhone’a można śmiało stwierdzić, że nic tak nie denerwuje w tych urządzeniach jak przycisk Home. Tuż po zakupie działa on wyśmienicie, problem zaczyna…
