Apple otrzymał patent na zupełnie nową wersję Apple Pencil, wyposażoną w zaawansowane czujniki optyczne. Nowy rysik miałby działać na wielu różnych powierzchniach – w tym na…
Przeglądasz: patenty Apple
Jak informuje South China Morning Post, wraz z ogłoszeniem przez Apple kolejnej konferencji która ma prawdopodobnie zaprezentować iPhone’a 13, chińska firma AI zwróciła się do sądu o…
Jak wynika z nowego zgłoszenia patentowego, Apple bada możliwości stworzenia klawiatury z małymi wyświetlaczami na klawiszach, które dynamicznie zmieniają etykietę każdego klawisza.
Apple bada możliwość dodania Touch ID i kamery pod wyświetlaczem do Apple Watch, zgodnie z dwoma nowo opublikowanymi zgłoszeniami patentowymi.
W tym tygodniu Urząd Patentowy i Znaków Towarowych USA opublikował nowe zgłoszenie patentowe Apple, które szczegółowo opisuje funkcje edycji wysłanych wiadomości, ulepszony program uruchamiający aplikacje i…
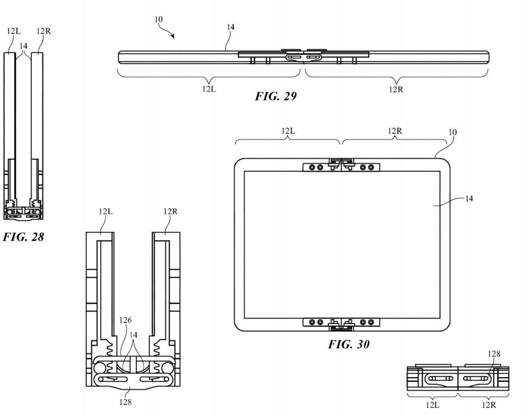
W tym tygodniu Apple uzyskał patent na składane urządzenie z unikalnym mechanizmem zawiasów, które wykorzystuje ruchome klapy, aby zapobiec gnieceniu się lub uszkodzeniu wyświetlacza po złożeniu.
Amerykańskie Biuro Patentów i Znaków Towarowych udzieliło firmie Apple patentu na podkładkę ładowania indukcyjnego, która pozwala na „różne funkcje dokowania w zależności od orientacji urządzenia”.
Apple otrzymał dziś od amerykańskiego Urządu Patentów i Znaków Towarowych oficjalny patent na system, który pozwala na kontrolę przez wykrywanie i rozpoznawanie twarzy urządzeń takich jak komputery osobiste…
Amerykański Urząd Patentów i Znaków Towarowych przyznał Apple patent na system Light Field, który umożliwiłyby wyostrzanie zdjęcia po jego wykonaniu, podobnie jak w aparatach Lytro.
Nietypowy patent przyznany dziś firmie Apple sugeruje, że firma poszukuje możliwości włączenia technologii zwanej „Silent Disco” do swoich nadchodzących urządzeń. Patent nr 8.521.316 został po raz pierwszy…
